Øyebolt POWERTEX LPS

Powertex LPS med roterende øyebolt redefinerer kapasiteten til tradisjonelle løfteøyer. Konstruert for krevende industrielle miljøer som krever pålitelighet og effektivitet, har Powertex LPS en dynamisk 360-graders rotasjonsfunksjon og en imponerende 4,5 ganger økning i Arbeidslastgrense (WLL) sa

Vis mer

Artikkelnummer:

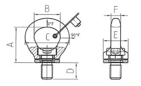
Powertex LPS med roterende øyebolt redefinerer kapasiteten til tradisjonelle løfteøyer. Konstruert for krevende industrielle miljøer som krever pålitelighet og effektivitet, har Powertex LPS en dynamisk 360-graders rotasjonsfunksjon og en imponerende 4,5 ganger økning i Arbeidslastgrense (WLL) sammenlignet med konvensjonelle DIN580 løfteøyer. Designet inkluderer et robust smidd roterende øye, supplert med en bolt og skive, som sikrer sikre og allsidige løfteoperasjoner. Bolten har et sekskantet sokkelgrep for enkel installasjon, som muliggjør rask montering med standardverktøy. Den inkluderer en ekstra 'hurtignøkkel' for manuell stramming under midlertidige oppsett.

Tillatte lastretninger:

  • Rett (maks WLL)
  • Sideveis (ikke vinkelrett på øyet)
  • 180 grader i øyets plan (+/- 90 grader fra senterlinjen)

Produktfunksjoner:

  • Holdbar finish: Belagt med PURE RED pulverlakk, er Powertex LPS øyebolter visuelt distinkte og tilbyr overlegen motstand mot slitasje og korrosjon.
  • Standardoverholdelse: Produsert for å oppfylle testkravene spesifisert av EN 1677-1, som sikrer høye sikkerhets- og kvalitetsstandarder.
  • Pålitelig: Designet med en sikkerhetsfaktor på minst 4 i de tiltenkte lastretningene, som gir en sikker løfteopplevelse.
  • Kvalitetssikring: Hver komponent gjennomgår sprekkdeteksjonstesting på fabrikken, og smidde lenker blir testet for å sikre pålitelighet.
  • Type Testing: Hver modell gjennomgår fabrikktesting inkludert bruddtester og utmattelsestester til 20 000 sykluser ved 1,5 ganger WLL, som fremhever produktets utholdenhet.
  • Full sporbarhet: Hver komponent er merket med POWERTEX branding, modellnavn, WLL, CE-merke, UKCA-merke og en sporbarhetskode, som sikrer sporbarhet til produksjonspartiet og råmaterialene.
  • WLL Indikasjon: LPS er merket med laveste WLL ved 90° som generell WLL. WLL-diagrammet gir en høyere WLL for rett vertikal last.
  • Harmløs: Krom 6 fri, i tråd med miljøsikkerhetsstandarder.
  • Sertifikater inkludert: Leveres med et POWERTEX 2.2 sertifikat og Samsvarserklæring med hver boks, som bekrefter overholdelse av EC og UK forskrifter.
  • Bredt temperaturområde: Optimalisert for bruk mellom -40°C til +200°C uten WLL-reduksjon, med tillatte WLL-reduksjoner for høyere temperaturområder, som sikrer tilpasning til ulike miljøer.
  • Egenskaper: 360 grader rotasjon
  • Materiale: Smidd legert stål
  • Merking: I henhold til standard, CE-merket, UKCA-marked, POWERTEX eller PX, modell navn, WLL og serienummer
  • Arbeidstemperatur: -40°C opp til +200°C uten reduksjon i WLL
  • Overflate: Pulverlakkert i PURE RED
  • Standard: EN 1677-1
  • Bemerk: Før bruk, gjennomgå WLL-diagrammet for å velge riktig LPS for din applikasjon
  • Sikkerhetsfaktor: 4:1

Lastetabell for Powertex LPS

Last ned dokument